 |
924Board.org Discussion Forum of 924.org
|
| View previous topic :: View next topic |
| Author |
Message |
ideola

Joined: 01 Oct 2004 Posts: 15550 Location: Spring Lake MI
|
Posted: Fri Jun 26, 2009 4:49 am Post subject: Vintage Turbo Conversion Documentation Thread |
|
|
OK, I'm tired of chasing this stuff down in multiple threads and having old photos and links to documentation end up broken. Consider this a start. It is by no means comprehensive, at least not yet.
We'll start with the official BAE Turbo instruction manual, courtesy of Joe Pabon (click for larger images):
 _________________ erstwhile owner of just about every 924 variant ever made
Last edited by ideola on Fri Jun 26, 2009 5:11 am; edited 2 times in total |
|
| Back to top |
|
 |
ideola

Joined: 01 Oct 2004 Posts: 15550 Location: Spring Lake MI
|
Posted: Fri Jun 26, 2009 4:50 am Post subject: |
|
|
Let's follow that up with some the only photos I've ever seen of the BAE kit installed, courtesy of Alex Roy:
 _________________ erstwhile owner of just about every 924 variant ever made
Last edited by ideola on Fri Jun 26, 2009 5:12 am; edited 1 time in total |
|
| Back to top |
|
 |
ideola

Joined: 01 Oct 2004 Posts: 15550 Location: Spring Lake MI
|
Posted: Fri Jun 26, 2009 4:50 am Post subject: |
|
|
And then some nice pix of the BAE components uninstalled, courtesy of DS-777:
 _________________ erstwhile owner of just about every 924 variant ever made
Last edited by ideola on Fri Jun 26, 2009 5:12 am; edited 1 time in total |
|
| Back to top |
|
 |
ideola

Joined: 01 Oct 2004 Posts: 15550 Location: Spring Lake MI
|
Posted: Fri Jun 26, 2009 4:51 am Post subject: |
|
|
Andrew, Scorpio, Sean (B), why don't you guys belly up some photos too?! _________________ erstwhile owner of just about every 924 variant ever made |
|
| Back to top |
|
 |
ideola

Joined: 01 Oct 2004 Posts: 15550 Location: Spring Lake MI
|
Posted: Fri Jun 26, 2009 4:53 am Post subject: |
|
|
Sadly, all of the articles from eturbo924's GeoCities site seem to have gone missing, but I scavenged this one from elsewhere:
| John Dinkel wrote: | Another Puffin Porsche
You might think R&T is starting to sound like a broken record, but darn it, we are frustrated. The cause of that frustration? Porsche 924. On paper it has all the makings of a great GT. In truth, the steering, handling, interior layout, seating, instrumentation and styling are all in the Porsche tradition. And we must admit evolutionary improvements have alleviated a few of the niggling problems that have plagued the 924 since it was introduced in 1976 (especially a classic case of freeway hoppus Californium.) This brings us to the reason of our discontent: the engine. The Audi designed 2 liter is noisy, rough and buzzy and adding injury to insult, gives performance hardly commensurate with a GT of the 924’s supposed stature and price – now up to $14,000
Boast about a 0-60 time of 11 sec and running the quarter mile in 18 sec flat to your less well to do friends in their Toyota Celicas, VW Sciraccos and even Dodge Colt Hatchbacks and VW Rabbits and the laughter will be heard clear to Stuttgart. And short of committing hara-kiri (that only works with under powered Japanese cars), your next move might be to slow tail it in the direction of your local Porsche purveyor and hand the salesman a deposit on a 924 turbo. If you’re well heeled, the turbo’s expected $20, 000 price tag won’t dissuade you from using such an extreme method as a means of gaining back a measure of your wounded pride. But if you’re like most 924 owners we know you purchased a 924 because one, it’s a Porsche and, two, it’s relatively affordable. And a twenty grand price tag is enough to make you contemplate trading in your string back driving gloves for some insulated mittens and grabbing the next slow boat to Alaska.
Keep the faith, 924 owners, there’s another solution. Have you though about aftermarket turbocharging? Yes, I know you’ve heard all the turbocharger horror stories, blown head gaskets, parts that don’t fit, instructions to complex and obscure you need PhD’s in engineering and cryptography to decipher them, blown head gaskets, overheating, detonation, blown head gaskets, exhaust leaks, blown head gaskets.
Obviously there’s some truth to the stories, sometimes the kits are improperly designed, but more often than not, it’s careless installation or driver abuse that ultimately results in problems. There’s not much I can do about the latter, but I can tell you about an aftermarket turbo for the 924 that transforms the Porsche into what I believe is the most flexible, most driveable and nicest running turbocharged car production or aftermarket I have driven. Admittedly, I haven’t driven the factories 924 turbo, which Joe Rutz found is a sensational performer in European trim, but I’ve driven and tested the production turbocharged Ford Mustang, Buick LeSabre and Riviera, Saab Turbo, Porsche 930 turbo and several aftermarket conversions. As far as I’m concerned none can match the 924 turbo system developed by Windblown Systems located at 158 Merrick Rd. Amityville N.Y 11701. 516 691-1733.
Fred Dellis. President of Legend Motors, a Porsche Audi and Fiat dealer is Amittyville and President of Windblown Systems emphasizes that "system" not "kit" is the proper way to describe the turbo Windblown has engineered for the 924. "It’s a system." Dallis says, "because it’s a totally professional execution of engineering, manufacturing and testing down to the smallest detail. It’s an excellent complement to the fine product it is to be used with, using the same standards or higher of workmanship and quality throughout."
Words like those are easily spoken, but Dellis can back them up with facts. Consider Quality. Windblown provides an AiResearch turbo, a special cast iron alloy, exhaust manifold, a cast iron turbine discharge housing an aluminum compressor discharge casting, and braided stainless steel oil feed and drain lines, silicon sparkplug wires, a Rotomaster wastegate and a VDO boost gauge. Consider attention to detail. Check the photo showing the system in exploded form. Everything you need to install the turbo properly – down to the smallest washer, cap screw or hose clamp is provided. You’ll find heat shields for the sparkplugs and the alternator drive belt and the completely engineered exhaust system of 2.5 in diameter mild steel tubing including a muffler. You also get a clearly written 10 page instruction manual complete with diagrams and a template for correctly drilling the oil pan.
Of course, it’s the results that count. The system must perform and also – and this is especially critical for a turbo-charged installation – it must be durable and reliable. Durability and reliability of the turbocharger and the engine it’s matched to are functions of several factors; how well the kit or system is engineered, proper installation, regular maintenance and driver sensitivity. Obviously, starting a cold engine and immediately giving it a dose of full boost in not conductive to longevity. To date the total mileage on the four turbo 924s Windblown Systems owns exceeds 40,000 miles, with one car accounting for 25,000 of those miles including 54 hard laps around Bridgehampton Raceway. Dellis reports no problems or failure with any of the cars.
Results are easier to quantify, My testing of a 1978 4 speed equipped turbo 924 resulted in 0-60 times averaging 6.7 sec and quarter mile flashing by in 15.3 sec at 90.5 mph, reductions of 4.3 and 2.6 sec respectively, compared to a normally aspirated 924. Want more proof? The time to reach 90 mph is nearly halved; 15.2 sec Vs 27.2. That’s impressive. But if you’re familiar with turbo installations you’re aware that the gain in top end performance often comes at the expense of bottom end acceleration. Lay your fears to rest. The Windblown turbo scoots from 0-30 in 2.1 sec compared to 3.3 for the stock 924. And that time is only 0.2 sec slower than a 930 Turbo.
This ability to have your cake and eat it too is the result of a major breakthrough in turbocharger design – bias boost control. It works this way. A pressure signal from the exhaust upstream of the wastegate and vacuum signal from the intake manifold are fed together in a predetermined ratio directly into the wastegage. This pressure/vacuum ratio, the wastegate actually "sees" is a function of the velocity of the exhaust gases and the depression in the intake manifold. Both of these, in turn, are a function of the throttle opening and the engine rpm. Tricking the wastegate in this fashion means that with an 11-psi relief spring in the wastegate, the turbocharger produces 9 psi of boost from 2800-4800 rpm; from 4800 to redline the boost progressively drops to 5 psi.
This does several good things. Restricting the boost as the load, the rpm and thus the peak cylinder pressures and temperatures build up, matches the boost curve of the turbo to the engines octane requirements. With bias boost a Windblown 924 can operate without detonating on generally available 93 octane premium unleaded fuels. A conventional waste gate set to blow off a 7 psi wouldn’t give the optimum safe 5 psi boot Dellis feels is necessary at high rpm. Neither would it allow the extra low-end punch achieved by going to 9 psi boost at low rpm when the engine is less susceptible to detonation. It also mean the stock 8.5:1 compression ratio can be retained. This is one of the reasons why the European factory 924 Turbo engine has a 7.5:2 compression ratio with its 10 psi of boost; under full boost the effective compression ratio jumps to 10.8:1.
Only one word aptly describes the Windblown turbo 924 installation; sanitary. The turbo nestles in the right front of the engine compartment with the waste gate directly above it. The precision look of the exhaust manifold casting is particularly impressive. In fact, the whole installation is no professional looking you could be fooled into thinking it was engineered in Stuttgart, except for the Windblown Systems, Inc. lettering on the handsome aluminum compressor outlet casting that mates with the stock throttle housing.
A few words about the waste gate. The Rotomaster unit regulates the turbocharger speed by controlling the volume of the turbine inlet gases, a design that allows the turbocharger to produce only the required boost level without limiting the fuel/ air flow though the compressor stage of the turbo. Such a design would cause the turbo to operate less efficiently, resulting in higher intake manifold temperatures and increasing the possibility of detonation.
While the wide-open-throttle performance of the Windblown 924 is certainly sensational, what impressed me even more was the driveability and flexibility of the engine under all driving conditions. Turbo lag was almost unnoticeable; I could have sworn the engine was normally aspirated if I hadn’t had a boost gauge to watch. That quick 2.1 sec 0-30 time is proof that this turbo is highly motivated. But I could stomp on the throttle with the transmission in 4th and the engine trundling along at 1500 rpm and immediately feel the engine smoothly build power. Try that with a stock 924 without shifting down at least two gears and you’d find yourself going nowhere slow.
Deceptive is how I describe the turbo 924’s performance. There’s no neck snapping acceleration such as you experience with a 930 turbo. Instead the smooth, quiet power buildup lulls you into disbelieving the speedometer, which in these days of 55 mph speed limits can be a costly mistake. There’s nothing deceptive about what the turbo does to the 924 engine’s usual assortment of rattles, wheezes and booming resonance: It muffles all of them. In addition, the engine runs through its rev range so quickly that vibrations, though still present, don't have time to jangle your nerves.
Dellis believes that only way to support a high quality product like the Windblown turbo 924 system is with a well structures distributor network supported by high-caliber factory sales and service personnel. Such a network is currently being developed. Also underway is the testing necessary to obtain a clean bull of health from the EPA. Windblown Systems has submitted a 924 for testing under federal emission test procedures and based on the results of the test, indications are that conformity has been met. By the time this issue appears written conformation should have been obtained. And work is proceeding on similar turbo systems for BMW 320I, 528I, 633I models, the VW Scirocco and the Fiat X1/9. Compared to most turbo kits, the Windblown system is expensive; $2085. Installation – averaging 18-20 hours for the first time installer – would cost $350 - $400. On the other side of the ledger, however, are the quality and completeness of the system, the impressive performance gain per dollar spent, the enormous improvement in flexibility and the welcome reduction in engine noise and roughness. Any current or prospective 924 owner who can’t afford a factory Turbo owes it to himself to find out more about the Windblown turbo. The Transformation truly has to be driven to be believed. |
_________________ erstwhile owner of just about every 924 variant ever made |
|
| Back to top |
|
 |
ideola

Joined: 01 Oct 2004 Posts: 15550 Location: Spring Lake MI
|
Posted: Fri Jun 26, 2009 4:59 am Post subject: |
|
|
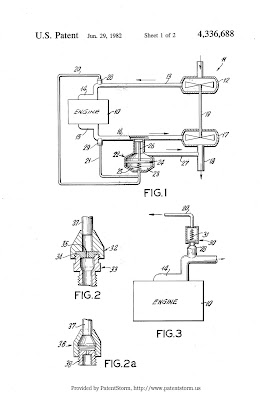
And for good measure, how about the "turbocharger control system" that Mr. Fred Dellis developed for his WindBlown turbo kit, as referenced in above article (US Patent #4,336,688):
 _________________ erstwhile owner of just about every 924 variant ever made
Last edited by ideola on Fri Jun 26, 2009 5:05 am; edited 1 time in total |
|
| Back to top |
|
 |
ideola

Joined: 01 Oct 2004 Posts: 15550 Location: Spring Lake MI
|
Posted: Fri Jun 26, 2009 5:02 am Post subject: |
|
|
And let's not forget about the famous Fog Town Rocket article by David Fetherston, also now sadly missing from eturbo924's site:
| David Fetherston wrote: |
Fog Town Rocket
Transformation of a 924
VW & Porsche Nov/Dec 1988
Eddie Chan has been a fancier of the 924 from the first moment he saw one in Car and Driver in 1976. It took a while to get what he wanted, and little did he realize at the time he purchased his brand new Copper Gold 924 in 1978 that it would still be with him 105,000 miles later, gracinf the pages of a Porsche magazine.
Eddie used the 924 as his everyday driver, clocking most of its mileage over eight years. In the meantime, he journeyed through a succession of other Porsches, which he modified with great success. One particularly nice project involved taking a stock 930 and adding a slope nose and Ruf turbo. And the little 924 continued as a parts chaser for his business. "The Auto Studio" in San Francisco.
Slowly, the 924 started to change. Eddie added a front air damn and a few other little pieces, including a 81 five speed transaxle. But, it was a trip to Germany that convinced him that his reliable little coupe should take a trip of its own, to the workshop and a series of modifiations that would last over a year.
Chassis components were researched and selected in Germany. Eddie chose Weltmeister springs and sway bars along with Bilstein shocks and a set of BBS three piece, 16 modular wheels – sevens and nines wrapped by Pirelli P700 205/55VRs 245-45VRs. The brakes have also been upgraded with the latest Ferodo metallic pads.
Although the underpinnings were sitting just right, Eddie needed to widen the body a bit to accommodate the considerably larger tires and give it a little more "flair". He accomplished this by using a Carrera GTS box flair kit on the rear and 944 fenders on the front. The match-up looks surprisingly good, especially when used in combination with the front GTS Euro bumper and spoiler a la 944, the fixed GTS racing headlights with their clear covers and the matching side skirts, rear apron and Euro bumper. Also, knowing that the power-plant was not going to remain stock, Eddie added a raised GTS hood scoop.
A very special rear widow package was the next to follow. On his second trip to Germany he managed to find a Strosek rear hatch to replace the original bulbous rear backlight. Not quite satisfied with the look of the hatch and wanting to incorporate a rear spoiler, Eddie molded in a GTS turbo – style whale tail spoiler, which now provides the rear with the audacious look of a factory racer.
The interior was not ignored either. Chris Santiago finished it in leather and velour over a set of Scheel seats, and a Momo "Porsche design" wheels went on the steering column. The control systems were also upgraded with a set of VDO Night Design guages and an adjustable turbo boost control. In keeping with this outrageous package Eddie wanted a sound system to match. He has a speaker box custom-built into the rear compartment to house Precision Power amplifiers and Nakamichi speakers. The box work includes a Coolink blower fan just to keep the 650 watt amps cool and super duty wiring package from Monster Cable. There back up the dash mounted Soundstream 308 stereo and separate tape player.
Eddie had GHO Machine in Burlingame expand the original 2.0 liter motor to 2.4 liters, and install a 10mm head stud kit. He then reassembled the motor using Mahle 7.3:1 turbo pistons on a newly balanced crank with stock Porsche bearings.
The distributor was re-curved and fitted with a late model Bosch electronic ignition and Bosch coil, plugs and wires. Keeping the timing up to scratch is a Dial-in Cams .470-in. lift/245-degree duration cam running Carrera lifters and dual Dial-in Cams springs.
Th head is still the original 78 924, though it has experienced a rather dramatic metamorphisis, having been ported, polished and cc’d. The stock valves have been replaced with Carrera GTS 44mm on the intake and 35mm on the exhaust.
The induction and exhaust system were both set up carefully with a combination of custom, factory and aftermarket items. Using a Rotomaster turbo, which produces a 20 psi max boost, Eddie fabricated the induction with custom intercooler plumbing, a Weber throttle body running on the stock Bosch fuel injectors and a Turbo Master intercooler. The turbo is fed by a cast BAE 2.5 inch exhaust header system into a Sonic Turbo muffler, fitted with Ansa tips.
His engine development program has turned the soft 100-hp four into a 270-hp bruiser at 700 rpm on the dyno. On the street, its increased power can rocket the coupe from 0 to 60 in five seconds flat with a top speed well over 150 mph.
Eddie is a man with a perpetual Porsche drivers grin across his face. He loves driving this little street beast as much as he likes working on it. Nonetheless, this is not the end of the project, but merely a turning point in the building of the ultimate street 924. |
_________________ erstwhile owner of just about every 924 variant ever made |
|
| Back to top |
|
 |
Andrew NZ

Joined: 22 Jun 2004 Posts: 744 Location: New Zealand
|
Posted: Fri Jun 26, 2009 10:27 am Post subject: |
|
|
| ideola wrote: | | Andrew, Scorpio, Sean (B), why don't you guys belly up some photos too?! |
I think I've lost most of mine, but I did send them to Scorpio a while ago, so hopefully he'll be able to post them. Mine was the rare wastegate version. _________________ Andrew
1977 RX924 race car
12a bridgeport supercharged
www.race4-dcup.co.nz |
|
| Back to top |
|
 |
pocketscience

Joined: 23 Apr 2006 Posts: 1650 Location: Sydney, Australia... mate!
|
Posted: Fri Jun 26, 2009 11:36 am Post subject: |
|
|
Scorpio's off traveling around Europe for a few weeks... so unlikely to hear from him til he gets back.
G. _________________ Whoever said you can't buy happiness forgot about Porsche!
81 924 N/A, GTS lights, Saratoga, interior, headers, Integral cam, EFI (sold)
95 993
69 911 |
|
| Back to top |
|
 |
B

Joined: 25 Apr 2006 Posts: 487 Location: Ohio
|
Posted: Wed Jul 01, 2009 6:03 am Post subject: |
|
|
Hi guys,
I have a few photos(I think) of the non-wastegated version - I also still have the photos of Andrews set up that he was kind enough to send me when I was trying to figure all of this out. I have not posted photos on here (or anywhere for that matter) so if someone would like me to send them the photos to post or if they just want me to email them to you, just let me know
I do not know much about the specific numbers on what the set up has done for the car, but will notice a difference - even in a car like mine that needs some tuning and probably some internal work.
Sean _________________ 1979 924 n/a
BAE turbo
5-speed snailshell |
|
| Back to top |
|
 |
ideola

Joined: 01 Oct 2004 Posts: 15550 Location: Spring Lake MI
|
Posted: Wed Jul 01, 2009 7:17 am Post subject: |
|
|
B, please send them to me: dan DOT beckett AT ideola DOT com. I'll be happy to add them to my picasa archive and post them here. Thanks in advance! _________________ erstwhile owner of just about every 924 variant ever made |
|
| Back to top |
|
 |
ideola

Joined: 01 Oct 2004 Posts: 15550 Location: Spring Lake MI
|
Posted: Wed Jul 01, 2009 12:44 pm Post subject: |
|
|
Courtesy of B (via John H):
 _________________ erstwhile owner of just about every 924 variant ever made |
|
| Back to top |
|
 |
ideola

Joined: 01 Oct 2004 Posts: 15550 Location: Spring Lake MI
|
Posted: Thu Jul 02, 2009 2:04 am Post subject: |
|
|
Charge tube for the Windblown Systems setup:
 _________________ erstwhile owner of just about every 924 variant ever made |
|
| Back to top |
|
 |
ideola

Joined: 01 Oct 2004 Posts: 15550 Location: Spring Lake MI
|
Posted: Thu Jul 02, 2009 3:35 am Post subject: |
|
|
This ad appeared on page 19 of the 21 April 1980 issue of The Spokesman-Review (a Spokane, Washington newspaper):
 _________________ erstwhile owner of just about every 924 variant ever made |
|
| Back to top |
|
 |
auditurbo2
Joined: 28 Jun 2013 Posts: 1 Location: Akron, OH
|
Posted: Sat Jun 29, 2013 2:23 am Post subject: Windblown finally running |
|
|
Hello everyone,
First off, thank you all so much for all the information you contribute. It's priceless. Although this is my first post, I've been on this site and several others since I got this Porsche several several weeks ago.
It is a 1977 924 Puffin Porsche with the Windblown system. It was running horribly when I picked it up, so for good measure I took it all apart to see the condition of internals.
The guy I picked it up from said he had put new rings on it and that he bought rings for a 2.5L. Can someone verify that this is the 2.5? I didn't think that they had a 2.5 back then.
In these images, I had temporarily replaced the beautiful Windblown intake piece with the original n/a while testing for vac leaks.
I cleaned everything and reassembled. Fuel dizzy was clean, but I wasn't getting enough fuel and I took into consideration that the previous owner may have played with the air/fuel mixture screw. I made this assumption because I've seen his work and heard him talk about engines. It was terrible.
It turned out that the injectors were not spraying evenly. In the meantime, I made the mistake of playing with the air/fuel screw until it came out.
Then I cross threaded it. Then corrected threads, and after finding no info on a default approximate setting, I came from lean to rich until I got it running, and then found the sweet spot.
Finally got the car running well. This allowed me to die happy. Turbo sounds like it needs balanced, probably rebuilt too since it's burning a bit of oil. No shaft play though.
It has a relatively new alternator, but it is mounted on the driver's side of the engine and it's insufficiently rigged. Does anyone have any pictures of the alternator setup on a Windblown engine?
I took the car for a good run. Clutch is solid. Car is definitely more doggish than I expected especially with those pistons. At about 4000 rpm I heard the turbo come to life and the car took off. Several blasts later, I felt and heard the turbo start to bicker. Guess that's next.
I have a Victor Reinz metal head gasket on the car now. How solid are the bottom ends? Would I be able to run 15 - 20 psi?
I'm somewhat impressed with the car. In the event that I'd need another clutch in the future, is there a compatible Audi disc? I have the 4 speed trans.
At idle, the engine flutters a bit, like the mixture is somewhat off. I've played with it and it seems to me to be in the middle of too rich and too lean. It's not as bad as a spark plug... it is just slightly less than smooth. Also, when started from cold, I need to raise rpms just a bit until it smooths out, which takes several mins.
Dennis |
|
| Back to top |
|
 |
|
|
You cannot post new topics in this forum You cannot reply to topics in this forum You cannot edit your posts in this forum You cannot delete your posts in this forum You cannot vote in polls in this forum
|
Powered by phpBB © 2001, 2005 phpBB Group
|